додому > Продукти > Болт > Болт з шестигранною головкою > Надміцний шестигранний болт
        Надміцний шестигранний болт
        • Надміцний шестигранний болтНадміцний шестигранний болт
        • Надміцний шестигранний болтНадміцний шестигранний болт

        Надміцний шестигранний болт

        Шестигранні болти Heavy Duty — це високоміцні кріпильні вироби, виготовлені з легованої або нержавіючої сталі, які мають міцність на розрив і міцність. Вони підходять для сценаріїв підключення у важких умовах, таких як будівництво та обладнання. Надміцні шестигранні болти, вироблені в нашій країні, відповідають міжнародним стандартам, таким як специфікації ISO та ASTM.

        Надіслати запит

        Опис продукту

        Сертифікат перевірки якості

        Heavy Duty Hexagonal bolt часто постачається із сертифікатами якості, що базуються на міжнародних стандартах — вони служать авторитетним доказом того, що вони відповідають вимогам. Такі документи, як ISO 4014 (для болтів загального призначення з великим кроком різьблення) або ISO 8765 (для болтів з дрібним кроком різьблення), підтверджують, що шестигранний болт відповідає суворим специфікаціям щодо розмірів, механічних характеристик і матеріалів.

        Для критичного застосування в аерокосмічній галузі шестигранний болт може бути сертифікований за такими стандартами, як ISO 6397, який охоплює випробування болтів на крутний момент і натяг. Ці сертифікати гарантують, що шестигранний болт виготовлено відповідно до точних марок (A і B) і класів міцності. Це забезпечує його ефективність, взаємозамінність і надійність у будь-яких цілях його використання — від загального машинобудування до спеціалізованих галузей.

        Витрати на доставку товару

        Вартість доставки шестигранного болта Heavy Duty не є фіксованою — вона залежить від загальної вартості доставки. Це включає упаковку, транспортування та завантаження. Також стягуються додаткові комісії, такі як плата за паливо. Остаточна вартість транспортування зазвичай базується на загальній вазі вашого замовлення та відстані доставки. Важливо врахувати ці комісії за обробку та можливі додаткові збори, щоб точно визначити повну вартість транспортування вашого вантажу з шестигранним болтом.

        Сесія запитань і відповідей

        Чи пропонуєте ви спеціальну упаковку та маркування шестигранних болтів для важких навантажень і які ваші умови оплати?

        Так, ми надаємо повністю настроювану упаковку для наших болтів. Варіанти включають невеликі коробки, картонні коробки або мішки промислового класу — усі вони можуть мати ваше конкретне брендування, штрих-коди та інформацію про продукт. Наша стандартна домовленість полягає в тому, що TT сплачує 30% авансу, а решта 70% розраховується до відправлення товару. Для надійних партнерів ми також раді обговорити інші безпечні варіанти оплати, як-от LC.


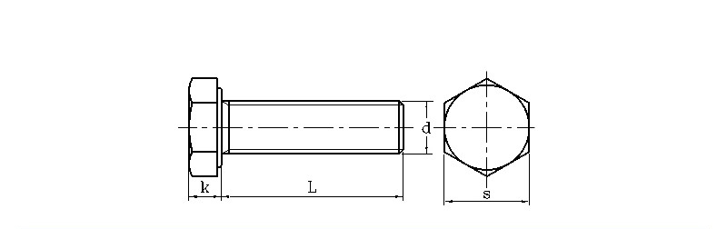
                                                                                                                                                                                   мм
        d S k d Нитка
        макс хв макс хв макс хв
        M3 5.32 5.5 1.87 2.12 2.87 2.98 0.5
        M4 6.78 7 2.67 2.92 3.83 3.98 0.7
        M5 7.78 8 3.35 3.65 4.82 4.97 0.8
        M6 9.78 10 3.85 4.14 5.79 5.97 1
        M8 12.73 13 5.15 5.45 7.76 7.97 1.25
        M10 15.73 16 6.22 6.58 9.73 9.96 1.5
        M12 17.73 18 7.32 7.68 11.7 11.96 1.75
        M14 20.67 21 8.62 8.98 13.68 13.96 2
        M16 23.67 24 9.82 10.18 15.68 15.96 2
        M18 26.67 27 11.28 11.7 17.62 17.95 2.5
        М20 29.67 30 12.28 12.71 19.62 19.95 2.5



        Гарячі теги: Надміцний шестигранний болт
        Пов'язана категорія
        Надіслати запит
        Будь ласка, надішліть свій запит у формі нижче. Ми відповімо вам протягом 24 годин.
        X
        Ми використовуємо файли cookie, щоб запропонувати вам кращий досвід перегляду, аналізувати трафік сайту та персоналізувати вміст. Використовуючи цей сайт, ви погоджуєтеся на використання файлів cookie. Політика конфіденційності
        Відхиляти прийняти